圓形振動篩是在當下生產中使用范圍比較廣的篩分設備之一,其篩分效果較為明顯,能夠比較輕松的實現去雜、分級等篩分要求,滿足客戶的生產。
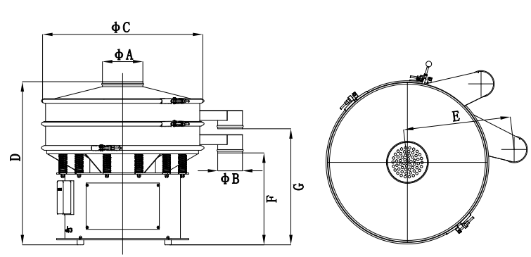
那么圓形振動篩能夠擁有良好的篩分能力,與其本身的結構也是有分不開的關系的,一臺圓形振動篩是有底桶、振動電機、振動體、彈簧、底框、網架、上框、束環和防塵蓋組成,各個結構對振動篩篩分效果都起著重要的作用。
納維加特生產的圓形振動篩,是十五年來納維加特不斷探索,積累經驗所研發的產品,能夠滿足客戶大部分的篩分需求,對于個別客戶的特殊篩分需求,我們也有其他的篩分設備或者定制研發,納維加特,專注解決各類篩分難題!
電子郵件地址不會被公開。 必填項已用*標注
在此瀏覽器中保存我的名字、電郵和網站。